为什么宇航员的眼球会变形?
2015年七月,NASA太空人史考特.凯利(Scott Kelly)漂浮在国际太空站的窗户旁。凯利在太空站上待满了一年,借以观察长期处于太空中对人体造成的影响。 PHOTOGRAPH BY NASA/GETTY
NASA太空人史考特.凱利在去年十二月時在太空漫步。PHOTOGRAPH BY NASA/GETTY
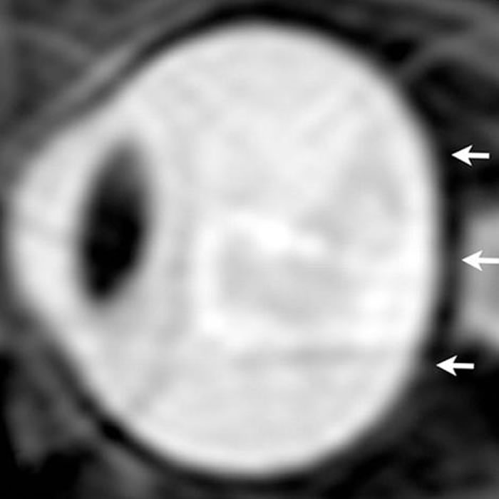
太空人眼部的核磁共振图。在长期的太空生活之后,太空人的眼球出现被挤压扁平的状况。 PHOTOGRAPH BY RSNA
视频:太空人史考特.凯利被送上太空一年,来测试长途太空旅行对人体的影响。
(神秘的地球uux.cn报道)据美国国家地理(作者:Mark Strauss):太空人脑部组织液的聚积,可能会对眼球造成挤压。
许多回到地球的太空人都出现了视线模糊的问题,有些甚至无法复原。在经过几年的追踪和研究之后,科学家相信他们终于找到背后的元凶──包覆着脑部的组织液跑到了不该出现的地方,挤压到眼球。
这种情形被称为颅内压造成的视力受损,三分之二长期待在国际太空站的太空人都因此饱受困扰。
NASA首先在2005年发现了这个离奇症状。当时太空人约翰.菲力普斯(John Phillips)的视力在经过了六个月的太空生活之后,从1.0退化到了0.2。在经过各种检查之后发现,菲力普斯的眼球被压扁了,并造成视神经发炎。
该研究主持人诺姆.阿鄱林(Noam Alperin)在一份新闻稿中表示,「人们一开始并不知道成因,直到2010年才逐渐变得关切;一些太空人的身体结构在过程中发生了改变,但是却无法在回到地球后全然恢复。」
NASA的医生早就发现到太空人眼压升高,但却无法确定原因。当时最主流的说法是,这和微重力的环境使血管中的液体(血液和淋巴液)重新分布有关。
根据NASA数据,在太空中时会有约两公升的体内血管液体从腿部流至头部。科学家怀疑是这些液体的移动造成脑压升高,进而影响眼压。
但接下来这份去年发表的研究使得情况变得更不单纯。
研究员们从四名进行无重力体验飞行的人员身上检测到了重要的讯息。令他们惊讶的是,人体在无重力状态时,颅内压反而呈现下降。
在迈阿密大学担任放射及生化工程教授的阿鄱林说,血管液体流向头部量的增加并非问题。真正的罪魁祸首是脑脊髓液,它的功用是在人体变换位置时调整脑压以缓冲脑部,像是起立或是躺下等动作。
太空旅行将会搅乱这个系统,因为在微重力的环境中并没有许多需要因变换姿势而改变脊髓液压力的情况。在对七名太空人在长期太空旅行前后进行核磁共振扫描后,阿鄱林和同僚得到了这个结论;他们还将另外九名进行短期太空任务的太空人的测试结果进行比较。
他们发现在太空中待上数月的七名太空人的眼窝内普遍发现较多量的脑脊髓液。这让太空人眼球后方承受了更多压力,造成眼球后方挤压,进而导致视神经突出。
这份研究同时也顺便解释了无重力飞行体验者测试时出现的结果。尽管脑脊髓液在某些区域增加了,脑本身的体积却无任何改变,因而造成颅内压增加。
虽然NASA终于成功找出造成这种症状的根源,却仍然束手无策。假使血管液体是造成眼球受损的元凶,太空人还能穿着一些正在开发中的装备,来帮助这些血液流回腿部。希望人工重力技术或多或少能解决眼球变形的问题。
















